homeProductsTHERMAL FUSE

Products

AUPO-Series
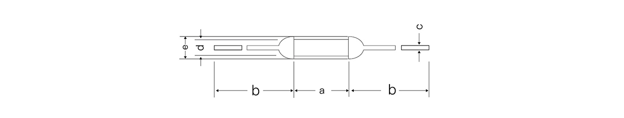
image
Model No a b c d e
P-F 9.0 ± 0.5 38 ± 3 Φ0.54 ± 0.05 Φ2.5 ± 0.1 3.0 or Below
Model NO.  Tf(℃) Fusing-off
Temperature (℃)
 Th(℃)  Tm(℃)  Ir(A)  Ur(V)
IEC Corp
P1-F 102 102+0/-10 98±2 80 200 2 250
P2-F 115 115+0/-10 112±3 99 200 2 250
P3-F 125 125+0/-10 120±3 105 200 2 250
P4-F 130 130+0/-10 126±2 107 200 2 250
P5-F 135 135+0/-10 131±3 115 200 2 250
P9-F 138 138+0/-10 135±2 118 200 2 250
P12-F 145 145+0/-10 140±2 126 200 2 250
P7-F 150 150+0/-10 145±3 128 200 2 250
P15-F 223 223+0/-10 218±2 190 280 2 250
Model No. UL/CUL VDE CCC PSE KTL
P1-F E140847 40000032 2009010205367407 JET0749-32001-1003 SU05017-5005C
P2-F
P3-F JET0749-32001-1004 SU05017-5006C
P4-F
P5-F
P9-F
P12-F JET0749-32001-1006
P7-F E140847
P15-F

○ pending